Products 工具萬力-不鏽鋼

Detail 詳細資訊
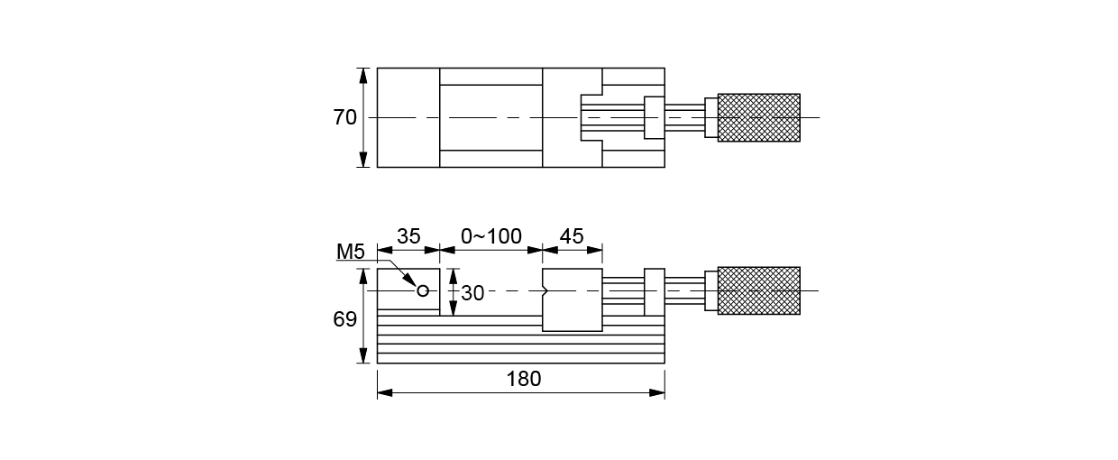
不銹鋼材質,真空熱處理後經深冷處理再進行研磨加工,因此本體不易變形,不生銹,易於保養。

規格:
● 平行度:100mm/0.003mm內
● 直角度:100mm/0.005mm內
● 材質:SUS440(不銹鋼)
● 熱處理硬度: HRC48°~55°
● 重量:5kg