● 適用於 4軸、5軸、CNC分度盤、立臥式CNC銑床之精密加工。
● 虎鉗中心重複定位精度可保持±0.01mm。
● 虎鉗本體採用FCD60球狀石墨鑄鐵材質,滑軌經高週波熱處理HRC45∘以上,可耐磨性極佳。
● 虎鉗鉗口採用全鋼材質,熱處理HRC55∘以上,可依夾持需求拆換方向使用,活用性高。
● 虎鉗特殊結構設計,夾持工件時所產生的下壓力能有效防止工件上浮情形,鎖固力優異。

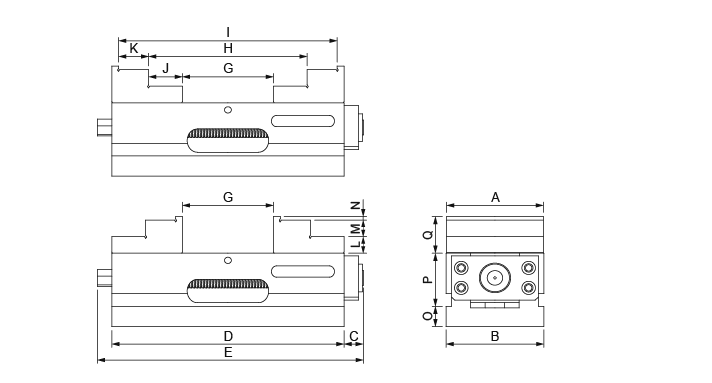
| 訂購編號 | 型號 | A | B | C | D | E | G | H | I | J | K | L | M | N | O | P | Q |
|---|---|---|---|---|---|---|---|---|---|---|---|---|---|---|---|---|---|
| 34906-02 | MSV-2 | 59 | 60 | 13 | 120 | 143 | 0-50 | 38-85 | - | 17.5 | - | 12.5 | 12.5 | - | 18 | 42 | 25 |
| 34906-04 | MSV-4 | 100 | 101 | 20 | 240 | 260 | 0-90 | 70-160 | 134-222 | 35 | 31 | 18 | 18 | 4 | 22 | 58 | 40 |
| 34906-06 | MSV-6 | 160 | 161 | 70 | 370 | 440 | 0-200 | 86-285 | - | 42.5 | - | 27.5 | 27.5 | - | 22 | 83 | 55 |

